中华人民共和国国家标准
光纤厂工程技术规范
Technical code for optical fiber plant engineering
GB 50945-2013
主编部门:中华人民共和国工业和信息化部
批准部门:中华人民共和国住房和城乡建设部
施行日期:2014年6月1日
中华人民共和国住房和城乡建设部公告
第236号
住房城乡建设部关于发布国家标准《光纤厂工程技术规范》的公告
现批准《光纤厂工程技术规范》为国家标准,编号为GB 50945-2013,自2014年6月1日起实施。其中,第5.1.3、5.1.5、7.3.2、7.3.4条为强制性条文,必须严格执行。
本规范由我部标准定额研究所组织中国计划出版社出版发行。
中华人民共和国住房和城乡建设部
2013年11月29日
前言
本规范是根据住房城乡建设部《关于印发<2009年工程建设标准规范制订、修订计划>的通知》(建标[2009]88号)的要求,由工业和信息化部电子工业标准化研究院电子工程标准定额站和信息产业电子第十一设计研究院科技工程股份有限公司会同有关单位共同编制完成的。
本规范编写过程中,编制组总结了我国近二十年来光纤厂工程设计、施工的成功经验,进行了专题调查研究,并在全国广泛征求意见,完成报批稿,最后经审查定稿。
本规范共分9章和1个附录,主要内容包括:总则、术语、总体设计、工艺设计、建筑及结构设计、公用工程设计、电气设计、安装工程施工、工程验收。
本规范主编单位、参编单位、主要起草人和主要审查人:
主编单位:工业和信息化部电子工业标准化研究院电子工程标准定额站
信息产业电子第十一设计研究院科技工程股份有限公司
参编单位:长飞光纤光缆有限公司
藤仓烽火光电材料科技有限公司
中国电子系统工程第二建设有限公司
浙江富通光纤技术有限公司
上海正帆科技有限公司
主要起草人:黄以庄 郑秉孝 黄晓春 陈世海 蒋云琴 张智华 李海祥 王开源 缪根 施红平 艾生珍 杜宝强 黎瑛 夏双兵 张继荣 赵孔肃 刘爱斌 伍淑坚 卢为民 李东升 陈思源 吴淳
主要审查人:黄文胜 薛长立 李诗愈 雷道玉 唐明 喻建武 赵允兴 王德荣 尹红兵 万铜良 阚强
以下规范内容由合景净化工程公司//m.gradualdigging.com/进行整理编辑
1总则
1.0.1 为使光纤厂工程设计、安装工程施工及工程验收满足光纤生产的工艺要求和生产环境要求,做到技术先进、保证质量、安全可靠,经济适用,并符合节能减排、保护环境的要求,制定本规范。
1.0.2 本规范适用于光纤厂新建、改建、扩建和技术改造工程的设计、安装工程施工及工程验收,不适用于光纤预制棒生产厂的工程设计、安装工程施工及工程验收。
1.0.3 光纤厂工程设计、安装工程施工及工程验收除执行本规范外,尚应符合国家现行有关标准的规定。
2术语
2.0.1 光纤 optical fiber
光纤即光导纤维的简称,是光纤通信的传输媒介。光纤除了按制造工艺、材料组成以及光学特性进行分类外,在应用中光纤常按用途进行分类,可分为通信用光纤和传感用光纤。
2.0.2 光纤预制棒 preform
用来拉制光纤、其径向折射率分布符合光纤通信传输要求的具有芯和包层结构的石英玻璃棒。
2.0.3 拉丝 drawing
将光纤预制棒直径缩小且保持芯包比和折射率分布恒定的操作。在拉丝塔顶部将光纤预制棒上端夹持,放入2000℃左右的拉丝炉中,下端加热至熔融状态,在牵引下被拉成所需规格的光纤。
2.0.4 拉丝塔 drawing tower
光纤拉丝塔是可高速地将光纤预制棒连续拉制成光纤的生产设备,主要由送棒装置、拉丝炉、光纤测径、冷却装置、涂覆装置、紫外固化、光纤收排线装置、控制柜和塔架等组成。
2.0.5 筛选/复绕 proof testing/rewinding
光纤在筛选机上通过张力测试作光纤强度筛选,剔除强度低的不合格的光纤,保证出厂光纤强度达到产品标准要求。经过筛选合格的光纤进行复绕分成国际通用的小盘光纤。
2.0.6 测试 test
对经过复绕的小盘光纤进行的成品检测,主要测试项目有光时域反射计(OTDR)全项测试;光纤几何尺寸测试;截止波长、模场直径、光纤谱损、波长色散、偏振模色散(PMD)和翘曲度等。
2.0.7 抗氢损处理 resistance to hydrogen loss treament
将筛选/复绕后成盘的光纤放入专用密闭的压力容器内,加入氘、氮等混合气体处理,以有效降低光纤的氢敏感性,保证光纤长时间传输特性稳定的工序。
2.0.8 标准棒 standard rod
在拉丝塔设备安装中,调整送棒装置垂直度及旋转度用的专用工具。
3总体设计
3.1 一般规定
3.1.1 光纤厂工程设计应根据生产工艺的特点,积极采用新工艺、新技术、新设备、新材料,并应为安装工程施工、调试检修、维护管理和安全运行创造条件。
3.1.2 光纤厂工程设计应贯彻节约能源、保护环境的方针,采取有效措施降低废气、废水等对环境的影响。
3.1.3 在抗震设防烈度为6度及6度以上地区建设光纤厂时,其建筑物、构筑物和管道系统的抗震设防类别应按丙类进行抗震设防设计。
3.2 厂址选择
3.2.1 光纤厂厂址选择应结合地区中长期规划,选择在远离散发大量粉尘、有严重空气污染的工厂、仓库、堆场的区域,同时应避开空气污染源主导风向的下风向。
3.2.2 光纤厂厂址选择应避开铁路、码头、飞机场、交通要道等有严重振动影响的区域。
3.2.3 光纤厂厂址选择应对市政给排水、动力供应、通信设施完善和交通便利等因素进行比选。
3.2.4 光纤厂厂址宜选择在抗震设防烈度小于或等于8度的地区建设,在8度区远离地震发震断裂的最小避让距离应大于200m。建筑场地应避开对抗震不利地段,不应在可能发生地质灾害的危险地段建造光纤厂。
3.3 总平面布置
3.3.1 光纤厂应按工艺生产系统、动力辅助系统、仓储系统、办公和管理系统等功能分区进行总平面布置,人流、物流出入口布置应避免交叉干扰。
3.3.2 光纤厂宜设环形消防通道,若有困难时可沿厂房长边的两侧设消防通道。消防通道的设置应符合现行国家标准《建筑设计防火规范》GB 50016的有关规定。
3.3.3 光纤厂厂区道路面层宜选用整体性能好、发尘少的材料。
3.3.4 光纤拉丝间离城市主要道路的直线距离宜大于50m。
3.3.5 光纤生产厂房周围宜种植常绿灌木和草皮,不宜种植对生产环境有影响的高大乔木。
4工艺设计
4.1 光纤拉丝
4.1.1 光纤生产厂房火灾危险性类别应为丁类。
4.1.2 光纤厂房的工艺区划宜分别设置人员出入口、物料出入口。
4.1.3 光纤厂房的工艺区划应按产品生产工艺流程(图4.1.3)进行。

图4.1.3 光纤生产工艺流程图
4.1.4 安装双面光纤拉丝塔的拉丝间柱网尺寸应根据拉丝塔尺寸和工艺要求确定,宜采用6.0m×6.0m~8.4m×8.4m。
4.1.5 光纤厂房的设计,其生产环境应符合下列要求:
1 光纤厂房的洁净度等级和温度、相对湿度参数应符合表4.1.5的规定。
表4.1.5 光纤厂房洁净度等级和温度、相对湿度参数表

2 光纤拉丝塔未采用专用操作升降电梯时,宜分层设置钢结构工作平台,各层工作平台之间应有钢梯相连。
3 物料垂直运输宜采用电梯或专用操作升降电梯,电梯或专用操作升降电梯的洁净度等级应与拉丝间相同。
4 光纤拉丝间应设防静电接地、工作接地、安全接地,设计宜采用综合接地系统。防静电接地应按现行国家标准《电子工程防静电设计规范》GB 50611二级防静电工作区进行设计。
5 光纤拉丝间照度宜大于300lx。
6 拉丝塔控制部分应设置不间断电源(UPS)。
4.1.6 工艺设备布置除应满足生产工艺要求外,还应满足设备安装、维修和生产操作的要求,并应布置运输通道,预留设备安装口、检修口及净化设施安装空间。
4.1.7 拉丝塔生产能力计算宜按下列参数取值:
1 拉丝塔按双面拉丝塔计,拉丝速度按拉丝塔标称速度。
2 全年平均生产日大于或等于320d。
3 成熟工艺、正常操作情况下,光纤拉丝成品率可按90%~95%取值。
4 每天平均净拉丝时间可设定为18h。
5 24h连续运转工作制度。
4.1.8 光纤拉丝塔应进行防微振设计。当设备厂家未提供拉丝塔的容许振动参数时,拉丝塔的容许振动参数可按本规范附录A的要求确定。
4.2 光纤筛选/复绕、测试
4.2.1 光纤筛选/复绕间宜采取降噪措施。
4.2.2 筛选/复绕设备、测试仪器应性能先进,其生产能力应与拉丝塔的生产能力相匹配。
5建筑及结构设计
5.1 建筑设计
5.1.1 光纤厂房的建筑功能应满足光纤生产工艺的要求,平面柱网和空间布局宜采用大空间、大跨度柱网,宜留有扩建的灵活性。
5.1.2 平面设计应符合下列规定:
1 光纤厂房宜将拉丝间、筛选/复绕间、测试间、包装间集中布置在一栋建筑内,动力站房宜靠近光纤厂房布置。
2 光纤厂房与动力厂房合并布置时,宜采用隔振缝隔开,隔振缝应从基础开始设置,将基础断开,直至屋顶。非地震区隔振缝宽度不应小于50mm,地震区隔振缝宽度不应小于100mm,且应符合现行国家标准《建筑抗震设计规范》GB 50011的有关规定。光纤厂房与动力厂房之间的连接管道应采取主动隔振措施。
3 当空调机房等动力站房布置在筛选/复绕间、测试间、包装间等房间的上层时,应采取有效的减振措施。
4 光纤厂房洁净区四周宜设置参观走道,若有困难时可沿厂房长边的两侧布置参观走道。
5 光纤厂房平面设计应将人流、物流路线分开,并应设置专用设备入口。设备搬入后,应及时将专用设备入口封闭。
5.1.3 光纤厂房建筑物耐火等级不应低于二级。
5.1.4 光纤厂房防火分区设定应符合下列规定:
1 防火分区应按工艺布置设定,防火分区面积不限。
2 拉丝间、筛选/复绕间、测试间和包装间宜合为一个防火分区。
3 计算防火分区面积时,拉丝间可按单层面积计算。
4 工作平台应与拉丝间疏散楼梯相通。
5 在一个防火分区内,洁净区与非洁净区之间应设置不燃烧体隔墙,隔墙耐火极限不应低于1.0h,隔墙上的门窗耐火极限不应低于0.6h。
5.1.5 每一防火分区的安全出口数目不应少于2个,安全出口应分散布置。并应设计明显的疏散标志。拉丝间高度大于24m时。应增设从拉丝间工作平台直通厂房较矮部分屋面的室外疏散通路。
5.1.6 光纤厂房洁净区外墙专用消防口的设置应符合现行国家标准《电子工业洁净厂房设计规范》GB 50472的有关规定。
5.1.7 光纤厂房人员净化用室的设计,应符合下列规定:
1 人员净化用室的入口处,应设净鞋设施。
2 外衣与洁净工作服应分别存放,存放柜可按洁净区内人数每人一柜配置。
3 卫生间应设在人员净化用室之前。
4 在洁净区的入口处应设空气吹淋室。
5 空气吹淋室应与洁净工作服更衣室相邻。
6 单人空气吹淋室应按最大班人数每30人设一台,也可采用多人吹淋室或通道式吹淋室。
7 空气吹淋室一侧应设旁通门。
5.1.8 光纤厂房洁净区设计,应符合下列要求:
1 厂房变形缝不宜穿越洁净区,当必须穿越洁净区时,应采取相应的处理措施。
2 洁净区内的顶棚和壁板应采用B1级(难燃性)材料,耐火极限不应低于0.4h,疏散走道的耐火极限不应低于1.0h;内部装修材料应满足现行国家标准《建筑内部装修设计防火规范》GB 50222的有关规定。
3 墙壁和顶棚光反射系数宜为0.6~0.8。
4 洁净区的外窗应采用双层固定窗,洁净区靠室内一侧不宜设窗台,当设窗台时应与内墙齐平。
5 洁净区的楼地面应平整、耐磨、易清洁、防静电、避免眩光、不开裂,地面的光反射系数宜为0.15~0.35。地坪宜配筋,并宜做防潮构造。
5.2 结构设计
5.2.1 光纤厂房的主体结构宜采用框架结构体系,并应满足工艺设备布置和各种管线布置的要求,不应采用内墙承重体系。
5.2.2 基础设计应符合下列规定:
1 光纤厂房基础持力层范围内存在软弱黏土层时,应根据场地的工程地质和水文地质条件、施工条件、环境条件等因素,选择桩基或人工处理复合地基。采用复合地基时应按国家现行标准《建筑地基处理技术规范》JGJ 79和《建筑地基基础设计规范》GB 50007的有关规定进行载荷试验和地基变形验算。
2 光纤厂房同一结构单元的基础不宜埋置在不同的地基土上,不宜一部分采用天然地基,另一部分采用桩基础。
3 拉丝塔基础持力层范围内地基承载力特征值小于300kPa或地层构造不均匀时,应采用桩筏基础。筏板的厚度不宜小于1200mm。
4 拉丝塔基础未采用桩基时应进行地基变形验算,拉丝塔基础沉降量应小于50mm,基础顶面平整度应符合本规范第9.2.3条的规定。
5.2.3 拉丝间防微振设计应符合下列规定:
1 拉丝塔基础应与厂房主体结构基础、地坪用隔震缝分开。
2 拉丝间的上部结构应采取综合措施进行防微振设计。
3 拉丝塔塔体与厂房主体结构的连接应采取柔性连接构造。
4 接往拉丝塔的管线连接应采取柔性接头。
5.2.4 拉丝间的柱网尺寸应满足拉丝塔和各种管线布置的要求,当空调机房紧邻拉丝间时,其柱距尺寸宜与拉丝间相一致。
5.2.5 拉丝间的层高应满足拉丝塔总高度和光纤预制棒专用提升设备起吊高度的要求,当光纤预制棒的垂直运输不采用专用提升设备时,拉丝间室内净高应比拉丝塔塔架高2.5m以上。
5.2.6 拉丝间内工作平台、技术夹层宜采用钢结构,与厂房主体结构相连,但应与拉丝塔脱开。
5.2.7 空调机房、动力站房布置于楼层时,应采用现浇钢筋混凝土井式楼盖或梁板式楼盖,并应有足够的刚度;空调机房楼面现浇梁、板、柱截面的最小尺寸应符合表5.2.7的规定;当采用钢框架结构时,应适当加大钢框架梁柱的截面尺寸,并应采用现浇钢筋混凝土组合楼板。

表5.2.7 空调机房楼面现浇梁、板、柱截面的最小尺寸
5.2.8 光纤厂房屋盖宜采用现浇钢筋混凝土井式屋盖或梁板式屋盖。屋面现浇梁、板、柱截面的最小尺寸宜符合表5.2.8的规定;当拉丝塔采用悬挂葫芦在室内吊装时,也可采用彩板钢屋盖体系,但应加强屋盖支撑系统,支撑系统杆件应采用型钢。

表5.2.8 屋面现浇梁、板、柱截面的最小尺寸
5.2.9 拉丝塔从屋面吊装孔吊装时,应符合下列要求:
1 屋面应预留吊装孔和装配式活动盖板,吊装孔洞口的中心应位于拉丝塔基础中心,吊装孔的尺寸应比拉丝塔平面尺寸每边宽出不应小于300mm。
2 屋面吊装孔在设备吊装前应防止雨水、异物等落入。
3 与吊装孔相对应的各层工作平台应设置防护栏,防护栏高度不得低于1.2m。
4 设备吊装完毕,应及时盖好活动盖板并应做好屋面吊装孔的封闭。
5.2.10 拉丝塔采用室内吊装时,应符合下列规定要求:
1 屋盖下应设置5t悬挂葫芦或5t梁式吊车。
2 外墙应预留设备入口,布置设备通道,设备入口和通道的尺寸应满足拉丝塔部件开箱前进入拉丝间的尺寸要求。
3 拉丝塔安装后,设备入口应及时封闭。
5.2.11 光纤厂房为超长混凝土结构时,宜采取超长混凝土结构无缝设计技术。
6公用工程设计
6.1 空调净化与通风
6.1.1 光纤厂房的生产环境应满足生产工艺的要求,各生产房间的洁净度等级和温度、相对湿度应按本规范表4.1.5的规定取值。
6.1.2 新风宜集中进行空气净化处理,新风机组风机应变频控制,并应设置压差报警。
6.1.3 新风机组冷冻水供回温度宜为6℃~12℃,循环机组冷冻水供回温度宜为10%~16℃;加热盘管宜采用热水为热媒。
6.1.4 初效、中效、高效三级空气过滤器可布置在空气处理机组内。
6.1.5 拉丝间净化空调的气流组织应符合下列要求:
1 拉丝间净化空调宜分层设置风口,每层宜采用上送下回的方式;顶层可采用侧送上回的方式。
2 当拉丝塔设备配置了封闭的高洁净度的净化空气循环系统时,宜采用分层侧送侧回方式。
6.1.6 在确定拉丝间净化空调系统的送风量时,应计算每层工作平台的工艺设备发热量。
6.1.7 拉丝塔设备的紫外固化装置送、排风系统应符合下列要求:
1 送风系统应独立设置,不得抽取室内净化空调空气作为送风,空调器内可设置表冷盘管、加热盘管以及初效、中效及亚高效空气过滤器,送风机组的风机压头应计算工艺设备内部阻力;送风风管应核算风管承压能力。
2 排风系统可高空排放。
3 热排风风管应采用耐高温耐高压的材料。
4 涂覆挥发物排风风管应采用耐腐蚀的材料。
6.1.8 拉丝间应设置排烟设施。
6.2 给水排水
6.2.1 给水设计应符合下列要求:
1 光纤厂宜按生产、生活、消防分别设置独立的给水系统;当市政供水的稳定性较差时,应采取不间断生产供水的技术措施。
2 穿过洁净区的给水管道,应根据水温和所在房间的温度、相对湿度采取隔热防结露措施。
6.2.2 工艺用纯水电阻率应大于或等于15MΩ·cm(25℃),纯水站设计应符合现行国家标准《电子工业纯水系统设计规范》GB 50685的有关规定。
6.2.3 工艺冷却水系统设计应符合下列要求:
1 工艺冷却水系统不应中断供水,冷却水循环泵应备用,备用泵应自动投入,压差报警。工艺冷却水系统宜接不间断电源(UPS)。
2 工艺冷却水系统供水水温不宜大于30℃,使用点压力不宜小于0.3MPa,补充水宜为软化水,并宜设置快速补水系统。
3 工艺冷却水系统在夏季宜利用冷冻水通过板式换热机组热交换,在其他季节可利用闭式冷却塔热交换。
4 工艺冷却水系统宜为闭式循环系统,管道、阀门及附件宜采用不锈钢材料。
6.2.4 消防给水和灭火设备的设置应符合现行国家标准《建筑设计防火规范》GB 50016的有关规定。
6.3 气体动力
6.3.1 光纤厂常用气体的品质要求应符合本规范表6.3.1的规定。
表6.3.1 光纤厂常用气体的品质要求表

6.3.2 拉丝间宜设置集中式真空吸尘系统。
6.3.3 拉丝间高纯气体管道,宜与每台拉丝塔对应布置,且宜采用排架固定,并应接入气柜。
6.3.4 高纯气体管道规格应按气体流量、压力和生产设备确定,管道材料宜采用内壁抛光的不锈钢管,管道连接应采用自动轨道氩弧焊或卡套连接。高纯气体管道设计应符合现行国家标准《大宗气体纯化及输送系统工程技术规范》GB 50724的有关规定。
6.3.5 特种气体系统的设计应符合现行国家标准《特种气体系统工程技术规范》GB 50646的有关规定.
7电气设计
7.1 供 电
7.1.1 光纤厂拉丝间和拉丝塔循环冷却水系统应为二级负荷,其余宜为三级负荷。
7.1.2 光纤厂拉丝塔的计算机控制系统应设置不间断电源(UPS)。
7.1.3 拉丝塔循环冷却水系统宜设置不间断电源(UPS)。
7.1.4 光纤厂变电站的布置宜靠近主要用电负荷中心。
7.1.5 UPS电源室应靠近变电站布置,且应设置空调。
7.1.6 工艺设备负荷与其他负荷宜用两台或两台以上的变压器分别供电。
7.1.7 厂房的防雷接地设计应符合现行国家标准《建筑物防雷设计规范》GB 50057的有关规定。
7.1.8 光纤厂房的防静电接地设计应符合现行国家标准《电子工程防静电设计规范》GB 50611的有关规定。
7.2 照明、配电与自动控制
7.2.1 光纤厂房洁净区内照明灯具宜采用不易集尘、便于清洁、吸顶明装的高效荧光灯。
7.2.2 成品库应采用黄光照明。
7.2.3 拉丝间各层平台均应设置照明。
7.2.4 光纤厂房拉丝间、筛选/复绕间、测试间照明照度值宜大于或等于300lx,库房、参观走廊、工作平台、动力站房等区域照度值宜为150lx~200lx。
7.2.5 光纤厂低压配电电压应采用220V/380V,带电导体系统可采用单相二线制、三相三线制、三相四线制,低压配电系统接地可采用TN-S或TN-C-S系统。
7.2.6 光纤厂的消防用电设备的配电设计应符合现行国家标准《建筑设计防火规范》GB 50016的有关规定。
7.2.7 光纤厂的净化空调系统和动力供应系统应设置自动监控装置,且各系统主要运行参数、设备的运行状态及故障报警信号在现场及设备管理中心应同时显示。
7.2.8 对净化空调系统的监控应有温湿度控制、送风静压控制、室内正压控制、送风机变频控制、送风静压下限报警显示、防冻报警、空气过滤器差压报警、远程监控等功能,且应设置空调系统过滤器的前后压差检测报警装置。
7.2.9 对冷冻水二次泵、热水系统的监控功能应有供水温度控制、水泵进出口压差报警显示,远程监控等。
7.2.10 大中型光纤厂的冷冻站,应进行节能控制设计。
7.3 通信、信息
7.3.1 光纤厂内通信设施的设置,应符合下列要求:
1 电话/数据布线应采用综合布线系统,综合布线系统的设备间、配线间宜设置在厂房洁净区外。
2 宜设置生产、管理及动力区联系的语音通信系统。
3 应设置数据通信局域网和与因特网连接的接入网。
4 宜设置洁净区内外、拉丝间各层工作平台之间的对讲系统。
7.3.2 光纤厂必须设置火灾自动报警系统,防护对象的等级不应低于一级。
7.3.3 光纤厂火灾自动报警及消防联动控制系统的控制及显示功能应符合现行国家标准《火灾自动报警系统设计规范》GB 50116的有关规定。
7.3.4 光纤厂房火灾探测器的设置应符合下列要求:
1 洁净区应设智能型火灾探测器。
2 使用氢气、氧气和氘气的封闭房间内应设置火焰探测器。
3 使用氢气的封闭房间内还应设置氢气浓度探测器。
7.3.5 光纤厂内应设置广播系统,当广播系统兼事故应急广播系统时,应符合现行国家标准《火灾自动报警系统设计规范》GB 50116的有关规定。
7.3.6 光纤厂宜设置闭路电视监控系统,监控摄像机宜采用彩色摄像机,闭路电视监控系统监控图像存储时间不宜少于15d。
7.3.7 光纤厂宜设置门禁系统,洁净区内门禁读卡器宜采用非接触型,火灾时门禁系统宜释放。
8安装工程施工
8.1 一般规定
8.1.1 光纤厂的给水排水工程、消防工程、气体动力配管工程、通风空调净化工程及电气工程的施工应符合现行国家标准《建筑给水排水及采暖工程施工质量验收规范》GB 50242、《火灾自动报警系统施工及验收规范》GB 50166、《大宗气体纯化及输送系统工程技术规范》GB 50724、《通风与空调工程施工质量验收规范》GB 50243和《建筑电气工程施工质量验收规范》GB 50303的有关规定。
8.1.2 光纤厂工程施工中采用的文件、合约中对施工质量的要求不得低于本规范的规定。
8.1.3 光纤厂工程施工中从事特种作业的人员应具有相应的资格证书,并在认可的资格范围内作业。
8.1.4 施工单位应按设计施工,设计变更应有设计单位的变更通知或签证。
8.1.5 主要设备、材料、成品、半成品进场验收应有合格记录,并应提交合格证、性能检测报告、安装及使用说明书。进口设备还应提供商检证明,中英文对照的质量合格证明文件、性能检测报告,安装、使用、维修、试验要求等技术文件。
8.1.6 施工、检测的计量器具和仪器仪表应经法定计量检定机构检定合格,并应在检定有效期内使用。
8.2 拉丝塔基础施工
8.2.1 拉丝塔基础施工应满足工艺设备技术文件中规定的安装条件,且基础顶面平整度和基础顶面标高应符合本规范表9.2.3的规定。
8.2.2 拉丝塔采用桩筏基础时,可不进行预压观测;当采用天然地基筏板基础时,应符合下列要求:
1 在拉丝塔安装前宜进行预压观测基础沉降量,观测基准点应不受基础沉降的影响,观测点应在基础周围均布,并不应少于4点。
2 预压的重量应为拉丝塔架及其塔架上各装置总重量的1.25倍。
3 预压物可用钢材或其他不污染环境的重物,预压物应均匀地放在基础上。
4 预压时间应到基础稳定为止。
5 拉丝塔基础沉降量和沉降差应符合现行国家标准《建筑地基基础设计规范》GB 50007的有关规定。
6 拉丝塔基础的倾斜度应符合本规范第9.2.3条基础顶面平整度和基础顶面标高的要求。
8.2.3 拉丝塔基础浇筑前应安装塔基模板。
8.2.4 拉丝塔基础施工,除应符合本规范的规定外,尚应符合现行国家标准《建筑地基基础工程施工质量验收规范》GB 50202的有关规定。
8.3 拉丝塔安装准备工作
8.3.1 拉丝塔安装前应准备下列技术资料:
1 拉丝塔架、送棒装置、拉丝炉、测径仪、冷却装置、涂覆装置、紫外固化装置、牵引装置、收线装置、电控柜及气控盘出厂合格证书及安装、使用、维护说明书;进口设备还应提供相应的中英文技术文件和商检证明文件。
2 设备安装平面图、标高图、设备基础图、气体动力配管图、电气原理及接线图。
8.3.2 安装机具除应准备通用设备安装机具外,还应配备下列专用机具:
1 拉丝塔安装平台。
2 拉丝塔采用从厂房屋面预留洞吊入时,应配备(租用)大型吊车;拉丝塔采用室内吊装时,应配备5t电动葫芦、6t叉车、3t液压搬运车。
3 中心模具、线锤、直径0.5mm的红色尼龙线、油杯、标准棒和百分表。
8.3.3 设备开箱检验应按照装箱单进行,检验应符合下列要求;
1 核对包装箱号、箱件数、设备的名称、型号、规格应与装箱单相一致,包装箱是否有漏水或破损现象,若有破损应影像取证及记录并与设备供应方联系。
2 在确认包装箱外观一切正确常后,应用专用撬杆撬开木箱顶盖开箱。
3 检查箱中的设备及附件应与装箱清单上的数量和名称一致。
4 检查随机技术资料及专用工具应齐全。
5 检查主机、附属设备及零部件应齐全,并应由各专业人员进行验收,妥善保管。
6 开箱检验后应填写设备开箱记录,记录应签字齐全。
8.4 拉丝塔塔架安装
8.4.1 拉丝塔塔架安装应在拉丝塔基础混凝土达到75%以上强度时才能进行;拉丝塔塔架就位前,应先划定安装基准线,基准线的偏差应符合现行国家标准《机械设备安装工程施工及验收通用规范》GB 50231的有关规定。
8.4.2 拉丝塔底板安装应符合下列要求:
1 固定拉丝塔底板采用预埋地脚螺栓时,预埋地脚螺栓应垂直,螺栓露出基础的长度应为底板、垫片、弹簧垫、螺母的总厚度加0.5倍螺栓直径;地脚螺栓的锚固长度应满足抗拔要求。
2 固定拉丝塔底板采用高强度化学螺栓时,化学螺栓的材质、规格型号、植入深度、化学药剂应符合拉丝塔设备安装说明书的要求,拧紧地脚螺栓应在化学药剂完全固化后才能进行。
3 固定拉丝塔底板的地脚螺栓应采用安装模板来定位。
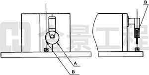
4 底座就位后应调整底板水平度(图8.4.2-1或图8.4.2-2),底板水平调整精度应为±0.1mm/m。
5 拉丝塔塔底应安装减振装置。

图8.4.2-1 底板水平调整示意图(一)
A-水准仪;B-刻度尺;C-调节螺栓;①~④-测试点

图8.4.2-2 底板水平调整示意图(二)
D-水平仪(精度0.02mm);C-调节螺栓;①~④-测试点
8.4.3 拉丝塔塔架安装应符合下列要求:
1 拉丝塔塔架可采用吊车从屋面吊装孔吊入,也可利用屋面下悬挂吊车直接在室内吊装。
2 吊装作业人员应持证上岗。
3 屋面吊装孔周围应设高度为1.2m的安全护栏。
4 吊装作业时,底层应采取安全隔离措施及设置危险警示标志。
5 拉丝塔塔架应采用分段吊装,安装从底座开始,由下至上进行,每节塔架的水平度允许偏差应为±0.5mm,且每节塔架都要用螺栓调整水平。
6 拉丝塔塔架全部安装就位后,应进行垂直度调整。拉丝塔的垂直度应满足本规范表9.3.1和表9.3.2的要求。
8.5 拉丝塔部件安装
8.5.1 拉丝塔部件安装应包括送棒装置、拉丝炉、测径仪、冷却装置、涂覆装置、紫外固化装置、牵引装置、电控柜、气控盘、真空氧分仪、露点仪的安装。安装前,拉丝间的空气洁净度等级、温度、相对湿度参数、防静电等应符合设计要求;各部件的安装精度应符合本规范第9.4.1条的规定。
8.5.2 送棒装置安装应保证调心机构中心与拉丝炉中心线重合。
8.5.3 拉丝炉安装应符合下列要求:
1 在拉丝炉上表面放置水平仪,松开拉丝炉地脚螺栓,调节水平度,调整精度应为±0.5mm。
2 拉丝炉上口放置定心模具,穿过定心模具中心孔悬挂一线锤,线锤应浸入地面的油杯中。
3 待线锤静止后,观察垂线与张力轮导轮的入线侧的相对位置,根据垂线与轮槽根圆表面中心偏移情况,松开炉子地脚螺栓,旋动调节螺钉,移动拉丝炉位置,直至线锤静止后,拧紧拉丝炉地脚螺栓,垂线与导轮入线侧轮槽根圆面相切,且在轮宽的正中间,允许偏差应为±0.1mm。
8.5.4 测径仪和冷却、涂覆、紫外固化、牵引、收线装置的安装应符合下列要求:
1 测径仪的中心应与设备中心线重合,安装就位后应调整水平和垂直度;测径仪测量精度应满足光纤外径允许变化量1μm的要求,宜选择精度为0.5μm±0.02%的干涉图形直径检测仪或扫描激光直径检测仪。
2 冷却装置的中心应与设备中心线重合;对于多节冷却管,每节也应与设备中心线重合。
3 涂覆装置应安装在冷却器之下,涂覆装置的中心应与设备中心线重合。
4 紫外固化装置安装在涂复模具座下面,紫外固化装置的中心应与设备中心线重合,并应调整紫外灯箱中心与涂覆模具座中心垂线重合。
5 牵引装置安装应将张力轮装置放在基座上,使张力轮装置底边中线与塔架基座边中线对齐,牵引装置导轮进线侧中心与设备中心线重合且相切。
6 收线装置应安装水平且固定牢固。
8.5.5 电控柜的安装应符合现行国家标准《建筑电气工程施工质量验收规范》GB 50303的有关规定,并应留有足够的检修空间。
8.5.6 气控柜安装应符合下列规定:
1 气控柜就位应按照设计图纸的要求定位,宜水平安装在地面或固定在基础上,同时应具有人员操作空间、门的开启空间和管道接口的距离。
2 固定气控柜的地脚螺栓应采用不锈钢螺栓。
3 气控柜应采用独立的支吊架,不得利用管道的支架支撑。
8.5.7 真空泵应水平安装在地面或固定基础上,并应设置橡胶垫片,减轻振动。真空泵应留有足够的检修空间。
8.5.8 氧分仪、露点仪的安装位置应便于读值、操作、拆装检修、定期维护和标定。
8.6 拉丝塔管道安装
8.6.1 拉丝塔管道安装应符合下列规定:
1 材料进场时应经外包装检验和文件检验,合格后方可使用。
2 贯穿塔架的管道应布置在塔架的管道竖井内并平行敷设,当管外径小于6mm或1/4″时,中心间距应为40mm;当管外径为6mm~12mm或1/4″~1/2″时,中心间距应为60mm。
3 拉丝炉、冷却装置等与管道之间应采用不锈钢金属软管连接。
4 与气控面板、分析仪器、真空泵等设备连接的管道,应消除应力。
5 与设备连接的螺纹接口应采用聚四氟乙烯胶带密封填料。
6 管外径大于1/2″的不锈钢管道弯头应采用成品弯头;管外径小于或等于1/2″的弯头可在现场使用专用弯管器煨制,弯头弯曲半径应大于或等于5倍管外径,揻制弯头的变形率应小于5%。弯管加工困难的地方可用成品弯头,但不得在焊口的位置弯曲。
7 管道连接应采用自动轨道氩弧焊,但每节塔架之间应采用快接接头连接。
8 自动轨道氩弧焊所用氩气纯度不得小于99.99%,管路前端应装流量计显示气体流量,末端应装压力计监测管内压力。
9 塔架各段管道应设置管道标志,注明介质名称和流向。
10 管道焊接施工除应执行本规范规定外,尚应符合现行国家标准《现场设备、工业管道焊接工程施工规范》GB 50236的有关规定。
8.6.2 管道安装完毕并进行外观检验合格后,应进行压力试验,压力试验除应执行现行国家标准《特种气体系统工程技术规范》GB 50646外,还应符合下列规定:
1 压力试验应采用气压试验,试验气体宜采用高纯氮气或氩气。
2 强度试验压力应为设计压力的1.15倍,保压时间不应少于30min;气密性试验压力应为设计压力的1.05倍,保压时间不应少于24h。
3 压力试验过程应记录起止温度,温度修正后的压降值不得超过1%。
4 压力试验合格后应采用高纯氮气或氩气进行管路吹扫,管路吹扫合格后应充氮气密封。
5 压力试验合格后,应填写管道系统压力试验记录。
8.7 拉丝塔电气安装
8.7.1 电力线、控制线不得敷设在同一线槽内,线槽内电缆应有序排列。
8.7.2 线缆连接时,应根据接线表中的编号或电缆颜色进行检查标记,完成后统一检查确认。
8.7.3 线芯的端部应设相应的终端接头,接头与线芯应使用专用工具进行压接,压接后的接头、连接管应无裂口,无芯线脱出等缺陷。
8.7.4 导线出入金属管口或通过金属盒壁处应加强绝缘或设绝缘护口。
8.7.5 线路第一次通电前应确认线路接线、绝缘电阻、电源相序、电压等级符合要求后方可送电。
8.7.6 设备电气安装应符合现行国家标准《建筑电气工程施工质量验收规范》GB 50303的有关规定。
8.8 拉丝塔部件调整
8.8.1 拉丝塔架垂直度调整可用直径不大于0.5mm红色尼龙绳穿过拉丝炉的中心模具,再放到塔架底端挂上铅锤后浸入油杯中进行检查及调整。双面光纤拉丝塔塔架的垂直度应符合本规范表9.3.1的要求,单面光纤拉丝塔塔架的垂直度应符合本规范表9.3.2的要求。
8.8.2 送棒装置垂直度调整时(图8.8.2),上下两部位横向及纵向允许偏差均应为±0.5mm。

图8.8.2 送棒装置垂直度调整
A-调节螺栓
8.8.3 尾棒夹具垂直度调整(图8.8.3)应按下列规定进行:

图8.8.3 尾棒夹具垂直度调整
A-送棒装置箱;B-磁性表座;C-夹紧装置;l-标准棒;Q-百分表
1 装上标准棒后,在图8.8.3所示位置用百分表检测标准棒,垂直度允许偏差应为±0.1mm/m。
2 在标准棒上面做出标记,作为零点,在正确的夹紧状态下,0°和180°取得的数据变化趋势应相同。
8.8.4 设备中心线调整应符合下列规定:
1 调整送棒装置的XY单元获得设备中心线(图8.8.4-1),应使中心线与基准板间距Y1符合设备要求尺寸,中心线处于基准板中心位置,且X1=X2。

图8.8.4-1 调整XY
A-基准板;B-送棒装置;C-油杯
2 调整至符合要求后固定设备中心线(图8.8.4-2),检查在整个光纤拉丝通路中设备中心线不应触碰其余部件,设备中心线精度应符合本规范第9.4.1条的规定。

图8.8.4-2 固定中心线
A-导轮;B-导轮槽
9工程验收
9.1 一般规定
9.1.1 光纤厂安装工程验收,除应符合现行国家标准《建筑地基基础工程施工质量验收规范》GB 50202、《机械设备安装工程施工及验收通用规范》GB 50231、《现场设备、工业管道焊接工程施工规范》GB 50236、《建筑电气工程施工质量验收规范》GB 50303和《特种气体系统工程技术规范》GB 50646外,尚应符合下列要求:
1 施工、安装和调试用各类计量器具、测量仪器,应检定合格,并在有效期内。
2 施工、安装和调试中各类工人和专业人员,应按相关要求持证上岗。
9.1.2 主要设备、材料、成品、半成品进场验收应有合格记录,并应提交合格证、性能检测报告、安装及使用说明书。进口设备还应提供商检证明,中英文对照的质量合格证明文件、性能检测报告,安装、使用、维修、试验要求等技术文件。
9.2 拉丝塔基础工程验收
9.2.1 检查拉丝塔桩筏基础,筏板厚度不应小于1200mm。
9.2.2 检查无桩基拉丝塔基础,沉降量应小于50mm。
9.2.3 光纤拉丝塔基础上平面验收标准应符合表9.2.3的规定。
表9.2.3 光纤拉丝塔基础上平面验收标准


9.3 拉丝塔安装工程验收
9.3.1 双面拉丝塔塔架的垂直度应符合表9.3.1的要求。
表9.3.1 双面拉丝塔塔架的垂直度要求

9.3.2 单面光纤拉丝塔塔架的垂直度应符合表9.3.2的要求。
表9.3.2 单面光纤拉丝塔塔架的垂直度要求

9.4 拉丝塔部件安装工程验收
9.4.1 设备各部件中心精度应符合下列规定:
1 拉丝炉中心垂线与设备中心线在拉丝炉上下口检测(图9.4.1),允许偏差应为±0.5mm。

图9.4.1 拉丝炉中心垂线检测示意图
A-上炉口中心;W-拉丝炉;U-定型管
2 测径仪中心与拉丝炉中心垂线的允许偏差应为±0.1mm。
3 冷却管中心与拉丝炉中心垂线的允许偏差应为±0.5mm,对于多节冷却管,每节也应满足要求。
4 涂覆装置中心与拉丝炉中心垂线的允许偏差应为±0.5mm。
5 紫外固化装置中心与拉丝炉中心垂线的允许偏差应为±0.5mm。
6 牵引装置导轮进线侧中心与拉丝炉中心垂线应重合,允许偏差应为±0.1mm,且应相切。
9.4.2 电控柜、气控盘的垂直度允许偏差应为±1.5‰。
9.5 拉丝塔管道安装工程验收
9.5.1 管道、管件、阀门的材质、型号规格、等级均应满足设计要求。
9.5.2 管道系统外观检验应符合下列要求:
1 阀门、管件的安装位置和方向应符合设计文件要求。
2 管道焊缝、弯管应无裂缝。
3 管道焊缝应符合下列要求:
1)凹陷度、凸起度及错边量均应小于管壁厚的10%;
2)焊缝宽度应大于管壁厚度并小于3倍管壁厚度;
3)色泽应无明显变色;
4)焊缝偏斜度应小于焊缝宽度的20%。
9.5.3 管道焊接验收除应符合本规范规定外,尚应符合现行国家标准《现场设备、工业管道焊接工程施工规范》GB 50236的有关规定。
9.6 拉丝塔电气安装工程验收
9.6.1 检查线缆连接时,应根据接线表中的编号或电缆颜色确认标记是否准确、统一。
9.6.2 检查线芯压接接头,连接管应无裂口,芯线无脱出等缺陷。
9.6.3 检查导线出入金属管口或通过金属管壁处是否已加强绝缘保护或设绝缘护口。
9.6.4 线路检查应符合下列要求:
1 接线应无漏接和错接,绝缘电阻应符合设计要求。
2 接线槽、控制柜应无剩余的接线头、电线等杂物。
9.6.5 通电检查应符合下列要求:
1 电源相序应符合设计要求。
2 电压等级应符合相关设备的要求。
附录A 精密设备、仪器容许振动通用标准曲线和应用说明
A.0.1 拉丝塔的容许振动参数可按精密设备、仪器容许振动通用标准曲线(图A.0.1)中VC-B(25μm/s)曲线确定。

图A.0.1 精密设备、仪器容许振动通用标准曲线
A.0.2 精密设备、仪器容许振动标准曲线的应用应符合表A.0.2的要求。
表A.0.2 精密设备、仪器容许振动标准曲线应用说明

本规范用词说明
1 为便于在执行本规范条文时区别对待,对要求严格程度不同的用词说明如下:
(1)表示很严格,非这样做不可的:
正面词采用“必须”,反面词采用“严禁”;
(2)表示严格,在正常情况下均应这样做的:
正面词采用“应”,反面词采用“不应”或“不得”;
(3)表示允许稍有选择,在条件许可时首先应这样做的:
正面词采用“宜”,反面词采用“不宜”;
(4)表示有选择,在一定条件下可以这样做的,采用“可”。
2 条文中指明应按其他有关标准执行的写法为:“应符合……的规定”或“应按……执行”。
工程视频案例
PURIFICATION CASE
合景智慧建设(广东)有限公司案例
PURIFICATION CASE
电子光学案例
PURIFICATION CASE
生物制药案例
PURIFICATION CASE
医疗器械案例
PURIFICATION CASE
食品日化案例
PURIFICATION CASE